聯系電話:
4006-181-398

產品型號:ZMAN、ZJHN
公稱通徑:DN25~300mm
壓力范圍:PN1.6~6.4MPa
溫度范圍:-40℃~+450℃
法蘭尺寸:GB/T9113.2-2000
閥體形式:雙座直通式
閥門材質:WCBZG230-450、ZG1Cr18Ni9Ti
閥芯材質:1Cr18Ni9Ti(304)或司鈦萊合金堆焊
密封填料:V型聚四氟乙烯(F4)、柔性石墨、不銹鋼波紋管
產品概述
氣動薄膜雙座調節閥是由多彈簧氣動薄膜執行機構和直通雙導向式雙座閥組成,具有結構緊湊、重量輕、動作靈敏、壓降損失小、閥容量大、流量特性精確等特點,以壓縮空氣傳動閥桿閥芯達到對流量介質的控制調節,可實現對工藝管路流體介質的自動調節控制,適用于對泄露量要求不嚴格,閥前后壓差較大的干凈介質場合。廣泛應用于石油、化工、制藥、冶金、電站等工業控制領域,主要控制氣體、液體、蒸汽等介質。
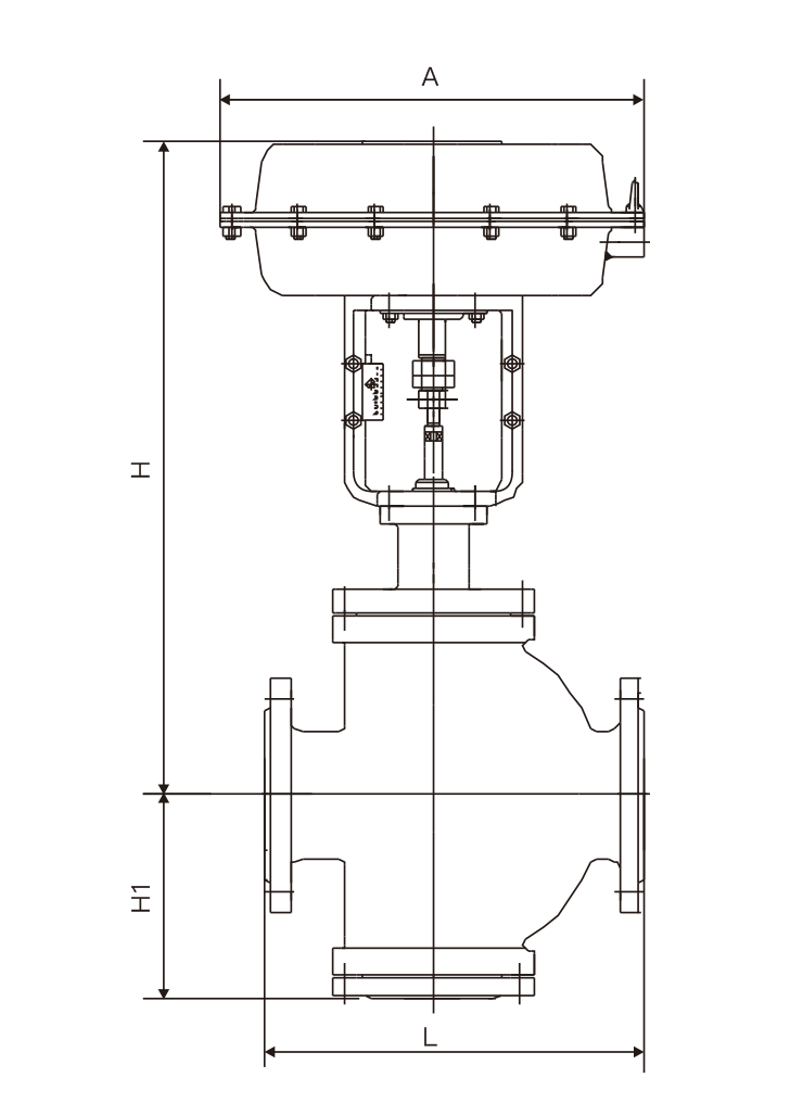
主要連接尺寸
|
公稱通徑DN(mm) |
25 |
32 |
40 |
50 |
65 |
80 |
100 |
125 |
150 |
200 |
||
|
A |
280 |
308 |
395 |
500 |
||||||||
|
L |
PN16 |
160 |
180 |
200 |
230 |
290 |
310 |
350 |
400 |
480 |
600 |
|
|
PN64 |
210 |
222 |
251 |
286 |
311 |
337 |
394 |
440 |
508 |
610 |
||
|
H1 |
PN16 |
91 |
108 |
118 |
135 |
150 |
185 |
202 |
225 |
303 |
340 |
|
|
PN40 |
91 |
108 |
118 |
135 |
150 |
185 |
202 |
225 |
303 |
340 |
||
|
PN64 |
120 |
132 |
137 |
159 |
179 |
205 |
253 |
266 |
288 |
376 |
||
|
H |
普通型 |
PN16 |
376 |
420 |
420 |
420 |
580 |
580 |
610 |
730 |
800 |
800 |
|
PN40 |
376 |
420 |
420 |
420 |
580 |
580 |
610 |
730 |
800 |
800 |
||
|
PN64 |
395 |
445 |
445 |
445 |
595 |
595 |
650 |
780 |
850 |
850 |
||
|
H2 |
-100℃ |
500 |
600 |
700 |
||||||||
|
-200℃ |
700 |
800 |
900 |
|||||||||
|
-250℃ |
900 |
1000 |
1100 |
|||||||||
|
重量(Kg) |
普通型 |
PN16 |
23 |
24 |
29 |
32 |
58 |
70 |
85 |
135 |
165 |
220 |
|
PN40 |
23 |
24 |
29 |
32 |
58 |
70 |
87 |
138 |
172 |
230 |
||
|
PN64 |
26 |
27 |
35 |
40 |
75 |
90 |
102 |
155 |
200 |
320 |
||

京公網安備 XXXXXXXXXXXXX